Swisscom AG: Data Analytics & AI




Abstract:We introduce a dictionary containing forms of common words in various Swiss German dialects normalized into High German. As Swiss German is, for now, a predominantly spoken language, there is a significant variation in the written forms, even between speakers of the same dialect. To alleviate the uncertainty associated with this diversity, we complement the pairs of Swiss German - High German words with the Swiss German phonetic transcriptions (SAMPA). This dictionary becomes thus the first resource to combine large-scale spontaneous translation with phonetic transcriptions. Moreover, we control for the regional distribution and insure the equal representation of the major Swiss dialects. The coupling of the phonetic and written Swiss German forms is powerful. We show that they are sufficient to train a Transformer-based phoneme to grapheme model that generates credible novel Swiss German writings. In addition, we show that the inverse mapping - from graphemes to phonemes - can be modeled with a transformer trained with the novel dictionary. This generation of pronunciations for previously unknown words is key in training extensible automated speech recognition (ASR) systems, which are key beneficiaries of this dictionary.




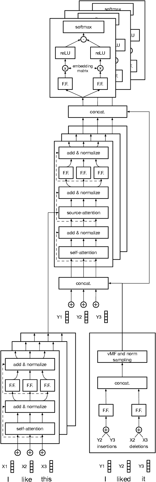
Abstract:Data augmentation promises to alleviate data scarcity. This is most important in cases where the initial data is in short supply. This is, for existing methods, also where augmenting is the most difficult, as learning the full data distribution is impossible. For natural language, sentence editing offers a solution - relying on small but meaningful changes to the original ones. Learning which changes are meaningful also requires large amounts of training data. We thus aim to learn this in a source domain where data is abundant and apply it in a different, target domain, where data is scarce - cross-domain augmentation. We create the Edit-transformer, a Transformer-based sentence editor that is significantly faster than the state of the art and also works cross-domain. We argue that, due to its structure, the Edit-transformer is better suited for cross-domain environments than its edit-based predecessors. We show this performance gap on the Yelp-Wikipedia domain pairs. Finally, we show that due to this cross-domain performance advantage, the Edit-transformer leads to meaningful performance gains in several downstream tasks.