



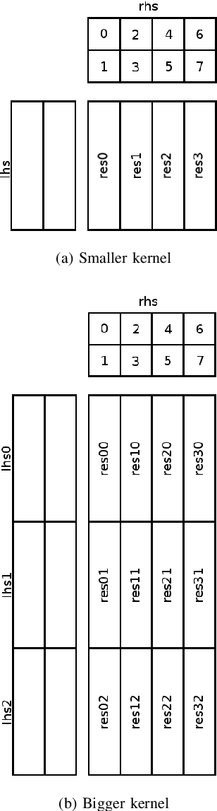
Abstract:Low-bit quantized neural networks are of great interest in practical applications because they significantly reduce the consumption of both memory and computational resources. Binary neural networks are memory and computationally efficient as they require only one bit per weight and activation and can be computed using Boolean logic and bit count operations. QNNs with ternary weights and activations and binary weights and ternary activations aim to improve recognition quality compared to BNNs while preserving low bit-width. However, their efficient implementation is usually considered on ASICs and FPGAs, limiting their applicability in real-life tasks. At the same time, one of the areas where efficient recognition is most in demand is recognition on mobile devices using their CPUs. However, there are no known fast implementations of TBNs and TNN, only the daBNN library for BNNs inference. In this paper, we propose novel fast algorithms of ternary, ternary-binary, and binary matrix multiplication for mobile devices with ARM architecture. In our algorithms, ternary weights are represented using 2-bit encoding and binary - using one bit. It allows us to replace matrix multiplication with Boolean logic operations that can be computed on 128-bits simultaneously, using ARM NEON SIMD extension. The matrix multiplication results are accumulated in 16-bit integer registers. We also use special reordering of values in left and right matrices. All that allows us to efficiently compute a matrix product while minimizing the number of loads and stores compared to the algorithm from daBNN. Our algorithms can be used to implement inference of convolutional and fully connected layers of TNNs, TBNs, and BNNs. We evaluate them experimentally on ARM Cortex-A73 CPU and compare their inference speed to efficient implementations of full-precision, 8-bit, and 4-bit quantized matrix multiplications.




Abstract:Quantized low-precision neural networks are very popular because they require less computational resources for inference and can provide high performance, which is vital for real-time and embedded recognition systems. However, their advantages are apparent for FPGA and ASIC devices, while general-purpose processor architectures are not always able to perform low-bit integer computations efficiently. The most frequently used low-precision neural network model for mobile central processors is an 8-bit quantized network. However, in a number of cases, it is possible to use fewer bits for weights and activations, and the only problem is the difficulty of efficient implementation. We introduce an efficient implementation of 4-bit matrix multiplication for quantized neural networks and perform time measurements on a mobile ARM processor. It shows 2.9 times speedup compared to standard floating-point multiplication and is 1.5 times faster than 8-bit quantized one. We also demonstrate a 4-bit quantized neural network for OCR recognition on the MIDV-500 dataset. 4-bit quantization gives 95.0% accuracy and 48% overall inference speedup, while an 8-bit quantized network gives 95.4% accuracy and 39% speedup. The results show that 4-bit quantization perfectly suits mobile devices, yielding good enough accuracy and low inference time.




Abstract:In this work we apply commonly known methods of non-adaptive interpolation (nearest pixel, bilinear, B-spline, bicubic, Hermite spline) and sampling (point sampling, supersampling, mip-map pre-filtering, rip-map pre-filtering and FAST) to the problem of projective image transformation. We compare their computational complexity, describe their artifacts and than experimentally measure their quality and working time on mobile processor with ARM architecture. Those methods were widely developed in the 90s and early 2000s, but were not in an area of active research in resent years due to a lower need in computationally efficient algorithms. However, real-time mobile recognition systems, which collect more and more attention, do not only require fast projective transform methods, but also demand high quality images without artifacts. As a result, in this work we choose methods appropriate for those systems, which allow to avoid artifacts, while preserving low computational complexity. Based on the experimental results for our setting they are bilinear interpolation combined with either mip-map pre-filtering or FAST sampling, but could be modified for specific use cases.