



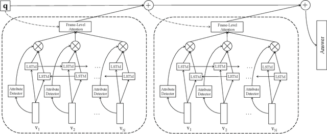
Video Question Answering is a challenging problem in visual information retrieval, which provides the answer to the referenced video content according to the question. However, the existing visual question answering approaches mainly tackle the problem of static image question, which may be ineffectively for video question answering due to the insufficiency of modeling the temporal dynamics of video contents. In this paper, we study the problem of video question answering by modeling its temporal dynamics with frame-level attention mechanism. We propose the attribute-augmented attention network learning framework that enables the joint frame-level attribute detection and unified video representation learning for video question answering. We then incorporate the multi-step reasoning process for our proposed attention network to further improve the performance. We construct a large-scale video question answering dataset. We conduct the experiments on both multiple-choice and open-ended video question answering tasks to show the effectiveness of the proposed method.