



Abstract:Complex dynamical systems, such as particle accelerators, often require complicated and time-consuming tuning procedures for optimal performance. It may also be required that these procedures estimate the optimal system parameters, which govern the dynamics of a spatiotemporal beam -- this can be a high-dimensional optimization problem. To address this, we propose a Classifier-pruned Bayesian Optimization-based Latent space Tuner (CBOL-Tuner), a framework for efficient exploration within a temporally-structured latent space. The CBOL-Tuner integrates a convolutional variational autoencoder (CVAE) for latent space representation, a long short-term memory (LSTM) network for temporal dynamics, a dense neural network (DNN) for parameter estimation, and a classifier-pruned Bayesian optimizer (C-BO) to adaptively search and filter the latent space for optimal solutions. CBOL-Tuner demonstrates superior performance in identifying multiple optimal settings and outperforms alternative global optimization methods.




Abstract:Charged particle dynamics under the influence of electromagnetic fields is a challenging spatiotemporal problem. Many high performance physics-based simulators for predicting behavior in a charged particle beam are computationally expensive, limiting their utility for solving inverse problems online. The problem of estimating upstream six-dimensional phase space given downstream measurements of charged particles in an accelerator is an inverse problem of growing importance. This paper introduces a reverse Latent Evolution Model (rLEM) designed for temporal inversion of forward beam dynamics. In this two-step self-supervised deep learning framework, we utilize a Conditional Variational Autoencoder (CVAE) to project 6D phase space projections of a charged particle beam into a lower-dimensional latent distribution. Subsequently, we autoregressively learn the inverse temporal dynamics in the latent space using a Long Short-Term Memory (LSTM) network. The coupled CVAE-LSTM framework can predict 6D phase space projections across all upstream accelerating sections based on single or multiple downstream phase space measurements as inputs. The proposed model also captures the aleatoric uncertainty of the high-dimensional input data within the latent space. This uncertainty, which reflects potential uncertain measurements at a given module, is propagated through the LSTM to estimate uncertainty bounds for all upstream predictions, demonstrating the robustness of the LSTM against in-distribution variations in the input data.
Abstract:Particle accelerators are complex systems that focus, guide, and accelerate intense charged particle beams to high energy. Beam diagnostics present a challenging problem due to limited non-destructive measurements, computationally demanding simulations, and inherent uncertainties in the system. We propose a two-step unsupervised deep learning framework named as Conditional Latent Autoregressive Recurrent Model (CLARM) for learning the spatiotemporal dynamics of charged particles in accelerators. CLARM consists of a Conditional Variational Autoencoder (CVAE) transforming six-dimensional phase space into a lower-dimensional latent distribution and a Long Short-Term Memory (LSTM) network capturing temporal dynamics in an autoregressive manner. The CLARM can generate projections at various accelerator modules by sampling and decoding the latent space representation. The model also forecasts future states (downstream locations) of charged particles from past states (upstream locations). The results demonstrate that the generative and forecasting ability of the proposed approach is promising when tested against a variety of evaluation metrics.
Abstract:In this paper, we propose a novel inverse parameter estimation approach called Bayesian optimized physics-informed neural network (BOPINN). In this study, a PINN solves the partial differential equation (PDE), whereas Bayesian optimization (BO) estimates its parameter. The proposed BOPINN estimates wave velocity associated with wave propagation PDE using a single snapshot observation. An objective function for BO is defined as the mean squared error (MSE) between the surrogate displacement field and snapshot observation. The inverse estimation capability of the proposed approach is tested in three different isotropic media with different wave velocities. From the obtained results, we have observed that BOPINN can accurately estimate wave velocities with lower MSE, even in the presence of noisy conditions. The proposed algorithm shows robust predictions in limited iterations across different runs.
Abstract:With the rising demands for robust structural health monitoring procedures for aerospace structures, the scope of intelligent algorithms and learning techniques is expanding. Supervised algorithms have shown promising results in the field provided a large, balanced, and labeled amount of data for training. For some applications like aerospace, the data collection process is cumbersome, time-taking, and costly. Also, generating possible damage scenarios in a laboratory setup is challenging because of the complexity of the damage initiation and failure mechanism. Besides this, the uncertainties of the real-time operation restrict the online prediction accuracy with supervised learning. In this paper, deep generative models are proposed for unsupervised delamination prediction as an anomaly detection problem. In this one-class-based model, the deep learning network is trained to learn the distribution of baseline signals. In the testing phase, damage signals and unseen baseline signals are fed into the trained network to predict the state of the structure, i.e., healthy or unhealthy (delamination). It is seen that the proposed method can successfully predict the delamination with high accuracy.
Abstract:Laminated composite materials are widely used in most fields of engineering. Wave propagation analysis plays an essential role in understanding the short-duration transient response of composite structures. The forward physics-based models are utilized to map from elastic properties space to wave propagation behavior in a laminated composite material. Due to the high-frequency, multi-modal, and dispersive nature of the guided waves, the physics-based simulations are computationally demanding. It makes property prediction, generation, and material design problems more challenging. In this work, a forward physics-based simulator such as the stiffness matrix method is utilized to collect group velocities of guided waves for a set of composite materials. A variational autoencoder (VAE)-based deep generative model is proposed for the generation of new and realistic polar group velocity representations. It is observed that the deep generator is able to reconstruct unseen representations with very low mean square reconstruction error. Global Monte Carlo and directional equally-spaced samplers are used to sample the continuous, complete and organized low-dimensional latent space of VAE. The sampled point is fed into the trained decoder to generate new polar representations. The network has shown exceptional generation capabilities. It is also seen that the latent space forms a conceptual space where different directions and regions show inherent patterns related to the generated representations and their corresponding material properties.




Abstract:The recent accelerated growth in space-related research and development activities makes the near-term need for long-term extraterrestrial habitats evident. Such habitats must operate under continuous disruptive conditions arising from extreme environments like meteoroid impacts, extreme temperature fluctuations, galactic cosmic rays, destructive dust, and seismic events. Loss of air or atmospheric leakage from a habitat poses safety challenges that demand proper attention. Such leakage may arise from micro-meteoroid impacts, crack growth, bolt/rivet loosening, and seal deterioration. In this paper, leakage estimation in deep space habitats is posed as an inverse problem. A forward pressure-based dynamical model is formulated for atmospheric leakage. Experiments are performed on a small-scaled pressure chamber where different leakage scenarios are emulated and corresponding pressure values are measured. An exponentially-weighted adaptively-refined search (EWARS) algorithm is developed and validated for the inverse problem of real-time leakage estimation. It is demonstrated that the proposed methodology can achieve real-time estimation and tracking of constant and variable leaks with accuracy.




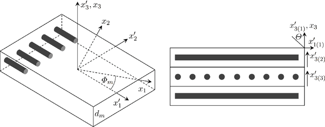
Abstract:In this work, ultrasonic guided waves and a dual-branch version of convolutional neural networks are used to solve two different but related inverse problems, i.e., finding layup sequence type and identifying material properties. In the forward problem, polar group velocity representations are obtained for two fundamental Lamb wave modes using the stiffness matrix method. For the inverse problems, a supervised classification-based network is implemented to classify the polar representations into different layup sequence types (inverse problem - 1) and a regression-based network is utilized to identify the material properties (inverse problem - 2)




Abstract:With the introduction of damage tolerance-based design philosophies, the demand for reliable and robust structural health monitoring (SHM) procedures for aerospace composite structures is increasing rapidly. The performance of supervised learning algorithms for SHM depends on the amount of labeled and balanced datasets. Apart from this, collecting datasets accommodating all possible damage scenarios is cumbersome, costly, and inaccessible for aerospace applications. In this paper, we have proposed two different unsupervised-feature learning approaches where the algorithms are trained only on the baseline scenarios to learn the distribution of baseline signals. The trained unsupervised feature learner is used for delamination prediction with an anomaly detection philosophy. In the first approach, we have combined dimensionality reduction techniques (principal component analysis and independent component analysis) with a one-class support vector machine. In another approach, we have utilized deep learning-based deep convolutional autoencoders (CAE). These state-of-the-art algorithms are applied on three different guided wave-based experimental datasets. The raw guided wave signals present in the datasets are converted into wavelet-enhanced higher-order representations for training unsupervised feature-learning algorithms. We have also compared different techniques, and it is seen that CAE generates better reconstructions with lower mean squared error and can provide higher accuracy on all the datasets.