



Abstract:A two-layer lossless image coding method compatible with JPEG XS is proposed. JPEG XS is a new international standard for still image coding that has the characteristics of very low latency and very low complexity. However, it does not support lossless coding, although it can achieve visual lossless coding. The proposed method has a two-layer structure similar to JPEG XT, which consists of JPEG XS coding and a lossless coding method. As a result, it enables us to losslessly restore original images, while maintaining compatibility with JPEG XS.



Abstract:We proposed a lossless two-layer HDR coding method using a histogram packing technique. The proposed method was demonstrated to outperform the normative JPEG XT encoder, under the use of the default tone-mapping operator. However, the performance under various tone-mapping operators has not been discussed. In this paper, we aim to compare the performance of the proposed method with that of the JPEG XT encoder under the use of various tone-mapping operators to clearly show the characteristic difference between them.




Abstract:We propose an efficient two-layer near-lossless coding method using an extended histogram packing technique with backward compatibility to the legacy JPEG standard. The JPEG XT, which is the international standard to compress HDR images, adopts a two-layer coding method for backward compatibility to the legacy JPEG standard. However, there are two problems with this two-layer coding method. One is that it does not exhibit better near-lossless performance than other methods for HDR image compression with single-layer structure. The other problem is that the determining the appropriate values of the coding parameters may be required for each input image to achieve good compression performance of near-lossless compression with the two-layer coding method of the JPEG XT. To solve these problems, we focus on a histogram-packing technique that takes into account the histogram sparseness of HDR images. We used zero-skip quantization, which is an extension of the histogram-packing technique proposed for lossless coding, for implementing the proposed near-lossless coding method. The experimental results indicate that the proposed method exhibits not only a better near-lossless compression performance than that of the two-layer coding method of the JPEG XT, but also there are no issue regarding the combination of parameter values without losing backward compatibility to the JPEG standard.




Abstract:We propose a novel JPEG XT image compression with hue compensation for two-layer HDR coding. LDR images produced from JPEG XT bitstreams have some distortion in hue due to tone mapping operations. In order to suppress the color distortion, we apply a novel hue compensation method based on the maximally saturated colors. Moreover, the bitstreams generated by using the proposed method are fully compatible with the JPEG XT standard. In an experiment, the proposed method is demonstrated not only to produce images with small hue degradation but also to maintain well-mapped luminance, in terms of three kinds of criterion: TMQI, hue value in CIEDE2000, and the maximally saturated color on the constant-hue plane.




Abstract:An encryption scheme of JPEG images in the bitstream domain is proposed. The proposed scheme preserves the JPEG format even after encrypting the images, and the file size of encrypted images is the exact same as that of the original JPEG images. Several methods for encrypting JPEG images in the bitstream domain have been proposed. However, since some marker codes are generated or lost in the encryption process, the file size of JPEG bitstreams is generally changed due to the encryption operations. The proposed method inputs JPEG bitstreams and selectively encrypts the additional bit components of the Huffman code in the bitstreams. This feature allows us to have encrypted images with the same data size as that recoded in the image transmission process, when JPEG images are replaced with the encrypted ones by the hooking, so that the image transmission are successfully carried out after the hooking.




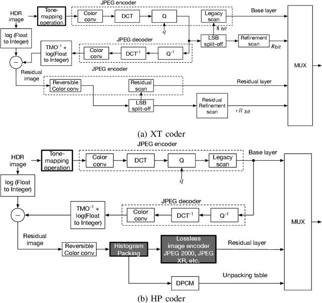
Abstract:An efficient two-layer coding method using the histogram packing technique with the backward compatibility to the legacy JPEG is proposed in this paper. The JPEG XT, which is the international standard to compress HDR images, adopts two-layer coding scheme for backward compatibility to the legacy JPEG. However, this two-layer coding structure does not give better lossless performance than the other existing methods for HDR image compression with single-layer structure. Moreover, the lossless compression of the JPEG XT has a problem on determination of the coding parameters; The lossless performance is affected by the input images and/or the parameter values. That is, finding appropriate combination of the values is necessary to achieve good lossless performance. It is firstly pointed out that the histogram packing technique considering the histogram sparseness of HDR images is able to improve the performance of lossless compression. Then, a novel two-layer coding with the histogram packing technique and an additional lossless encoder is proposed. The experimental results demonstrate that not only the proposed method has a better lossless compression performance than that of the JPEG XT, but also there is no need to determine image-dependent parameter values for good compression performance without losing the backward compatibility to the well known legacy JPEG standard.




Abstract:An efficient two-layer coding method using the histogram packing technique with the backward compatibility to the legacy JPEG is proposed in this paper. The JPEG XT, which is the international standard to compress HDR images, adopts two-layer coding scheme for backward compatibility to the legacy JPEG. However, this two-layer coding structure does not give better lossless performance than the other existing single-layer coding methods for HDR images. Moreover, the JPEG XT has problems on determination of the lossless coding parameters; Finding appropriate combination of the parameter values is necessary to achieve good lossless performance. The histogram sparseness of HDR images is discussed and it is pointed out that the histogram packing technique considering the sparseness is able to improve the performance of lossless compression for HDR images and a novel two-layer coding with the histogram packing technique is proposed. The experimental results demonstrate that not only the proposed method has a better lossless compression performance than that of the JPEG XT, but also there is no need to determine image-dependent parameter values for good compression performance in spite of having the backward compatibility to the well known legacy JPEG standard.