



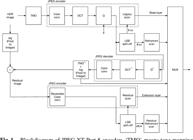
An efficient two-layer coding method using the histogram packing technique with the backward compatibility to the legacy JPEG is proposed in this paper. The JPEG XT, which is the international standard to compress HDR images, adopts two-layer coding scheme for backward compatibility to the legacy JPEG. However, this two-layer coding structure does not give better lossless performance than the other existing methods for HDR image compression with single-layer structure. Moreover, the lossless compression of the JPEG XT has a problem on determination of the coding parameters; The lossless performance is affected by the input images and/or the parameter values. That is, finding appropriate combination of the values is necessary to achieve good lossless performance. It is firstly pointed out that the histogram packing technique considering the histogram sparseness of HDR images is able to improve the performance of lossless compression. Then, a novel two-layer coding with the histogram packing technique and an additional lossless encoder is proposed. The experimental results demonstrate that not only the proposed method has a better lossless compression performance than that of the JPEG XT, but also there is no need to determine image-dependent parameter values for good compression performance without losing the backward compatibility to the well known legacy JPEG standard.