



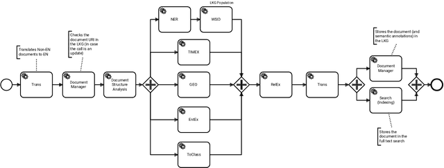
Abstract:Legal technology is currently receiving a lot of attention from various angles. In this contribution we describe the main technical components of a system that is currently under development in the European innovation project Lynx, which includes partners from industry and research. The key contribution of this paper is a workflow manager that enables the flexible orchestration of workflows based on a portfolio of Natural Language Processing and Content Curation services as well as a Multilingual Legal Knowledge Graph that contains semantic information and meaningful references to legal documents. We also describe different use cases with which we experiment and develop prototypical solutions.