



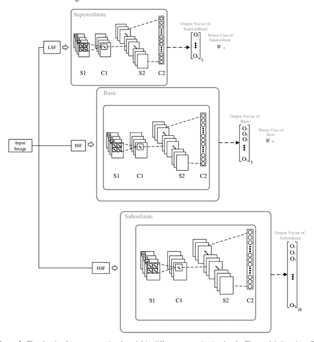
Abstract:The human visual system contains a hierarchical sequence of modules that take part in visual perception at superordinate, basic, and subordinate categorization levels. During the last decades, various computational models have been proposed to mimic the hierarchical feed-forward processing of visual cortex, but many critical characteristics of the visual system, such actual neural processing and learning mechanisms, are ignored. Pursuing the line of biological inspiration, we propose a computational model for object recognition in different categorization levels, in which a spiking neural network equipped with the reinforcement learning rule is used as a module at each categorization level. Each module solves the object recognition problem at each categorization level, solely based on the earliest spike of class-specific neurons at its last layer, without using any external classifier. According to the required information at each categorization level, the relevant band-pass filtered images are utilized. The performance of our proposed model is evaluated by various appraisal criteria with three benchmark datasets and significant improvement in recognition accuracy of our proposed model is achieved in all experiments.





Abstract:Application of deep convolutional spiking neural networks (SNNs) to artificial intelligence (AI) tasks has recently gained a lot of interest since SNNs are hardware-friendly and energy-efficient. Unlike the non-spiking counterparts, most of the existing SNN simulation frameworks are not practically efficient enough for large-scale AI tasks. In this paper, we introduce SpykeTorch, an open-source high-speed simulation framework based on PyTorch. This framework simulates convolutional SNNs with at most one spike per neuron and the rank-order encoding scheme. In terms of learning rules, both spike-timing-dependent plasticity (STDP) and reward-modulated STDP (R-STDP) are implemented, but other rules could be implemented easily. Apart from the aforementioned properties, SpykeTorch is highly generic and capable of reproducing the results of various studies. Computations in the proposed framework are tensor-based and totally done by PyTorch functions, which in turn brings the ability of just-in-time optimization for running on CPUs, GPUs, or Multi-GPU platforms.





Abstract:Reinforcement learning (RL) has recently regained popularity, with major achievements such as beating the European game of Go champion. Here, for the first time, we show that RL can be used efficiently to train a spiking neural network (SNN) to perform object recognition in natural images without using an external classifier. We used a feedforward convolutional SNN and a temporal coding scheme where the most strongly activated neurons fire first, while less activated ones fire later, or not at all. In the highest layers, each neuron was assigned to an object category, and it was assumed that the stimulus category was the category of the first neuron to fire. If this assumption was correct, the neuron was rewarded, i.e. spike-timing-dependent plasticity (STDP) was applied, which reinforced the neuron's selectivity. Otherwise, anti-STDP was applied, which encouraged the neuron to learn something else. As demonstrated on various image datasets (Caltech, ETH-80, and NORB), this reward modulated STDP (R-STDP) approach extracted particularly discriminative visual features, whereas classic unsupervised STDP extracts any feature that consistently repeats. As a result, R-STDP outperformed STDP on these datasets. Furthermore, R-STDP is suitable for online learning, and can adapt to drastic changes such as label permutations. Finally, it is worth mentioning that both feature extraction and classification were done with spikes, using at most one spike per neuron. Thus the network is hardware friendly and energy efficient.





Abstract:The primate visual system has inspired the development of deep artificial neural networks, which have revolutionized the computer vision domain. Yet these networks are much less energy-efficient than their biological counterparts, and they are typically trained with backpropagation, which is extremely data-hungry. To address these limitations, we used a deep convolutional spiking neural network (DCSNN) and a latency-coding scheme. We trained it using a combination of spike-timing-dependent plasticity (STDP) for the lowest layers and reward-modulated STDP (R-STDP) for the highest ones. In short, with R-STDP a correct (resp. incorrect) decision leads to STDP (resp. anti-STDP). This approach led to an accuracy of 97.2% on MNIST, without requiring an external classifier. In addition, we demonstrated that R-STDP extracts features that are diagnostic for the task at hand, and discards the other ones, whereas STDP extracts any feature that repeats. Finally, our approach is biologically plausible, hardware friendly, and energy-efficient.
