Abstract:Due to the recent wide use of computational resources in cloud computing, new resource provisioning challenges have been emerged. Resource provisioning techniques must keep total costs to a minimum while meeting the requirements of the requests. According to widely usage of cloud services, it seems more challenging to develop effective schemes for provisioning services cost-effectively; we have proposed a novel learning based resource provisioning approach that achieves cost-reduction guarantees of demands. The contributions of our optimized resource provisioning (ORP) approach are as follows. Firstly, it is designed to provide a cost-effective method to efficiently handle the provisioning of requested applications; while most of the existing models allow only workflows in general which cares about the dependencies of the tasks, ORP performs based on services of which applications comprised and cares about their efficient provisioning totally. Secondly, it is a learning automata-based approach which selects the most proper resources for hosting each service of the demanded application; our approach considers both cost and service requirements together for deploying applications. Thirdly, a comprehensive evaluation is performed for three typical workloads: data-intensive, process-intensive and normal applications. The experimental results show that our method adapts most of the requirements efficiently, and furthermore the resulting performance meets our design goals.




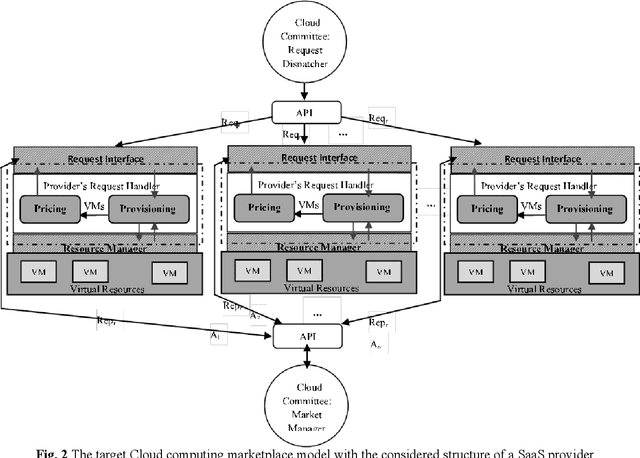
Abstract:The competitive nature of Cloud marketplaces as new concerns in delivery of services makes the pricing policies a crucial task for firms. so that, pricing strategies has recently attracted many researchers. Since game theory can handle such competing well this concern is addressed by designing a normal form game between providers in current research. A committee is considered in which providers register for improving their competition based pricing policies. The functionality of game theory is applied to design dynamic pricing policies. The usage of the committee makes the game a complete information one, in which each player is aware of every others payoff functions. The players enhance their pricing policies to maximize their profits. The contribution of this paper is the quantitative modeling of Cloud marketplaces in form of a game to provide novel dynamic pricing strategies; the model is validated by proving the existence and the uniqueness of Nash equilibrium of the game.
Abstract:Link prediction problem has increasingly become prominent in many domains such as social network analyses, bioinformatics experiments, transportation networks, criminal investigations and so forth. A variety of techniques has been developed for link prediction problem, categorized into 1) similarity based approaches which study a set of features to extract similar nodes; 2) learning based approaches which extract patterns from the input data; 3) probabilistic statistical approaches which optimize a set of parameters to establish a model which can best compute formation probability. However, existing literatures lack approaches which utilize strength of each approach by integrating them to achieve a much more productive one. To tackle the link prediction problem, we propose an approach based on the combination of first and second group methods; the existing studied works use just one of these categories. Our two-phase developed method firstly determines new features related to the position and dynamic behavior of nodes, which enforce the approach more efficiency compared to approaches using mere measures. Then, a subspace clustering algorithm is applied to group social objects based on the computed similarity measures which differentiate the strength of clusters; basically, the usage of local and global indices and the clustering information plays an imperative role in our link prediction process. Some extensive experiments held on real datasets including Facebook, Brightkite and HepTh indicate good performances of our proposal method. Besides, we have experimentally verified our approach with some previous techniques in the area to prove the supremacy of ours.