



Abstract:Quantum Double Delta Swarm (QDDS) Algorithm is a new metaheuristic algorithm inspired by the convergence mechanism to the center of potential generated within a single well of a spatially co-located double-delta well setup. It mimics the wave nature of candidate positions in solution spaces and draws upon quantum mechanical interpretations much like other quantum-inspired computational intelligence paradigms. In this work, we introduce a Chebyshev map driven chaotic perturbation in the optimization phase of the algorithm to diversify weights placed on contemporary and historical, socially-optimal agents' solutions. We follow this up with a characterization of solution quality on a suite of 23 single-objective functions and carry out a comparative analysis with eight other related nature-inspired approaches. By comparing solution quality and successful runs over dynamic solution ranges, insights about the nature of convergence are obtained. A two-tailed t-test establishes the statistical significance of the solution data whereas Cohen's d and Hedge's g values provide a measure of effect sizes. We trace the trajectory of the fittest pseudo-agent over all function evaluations to comment on the dynamics of the system and prove that the proposed algorithm is theoretically globally convergent under the assumptions adopted for proofs of other closely-related random search algorithms.




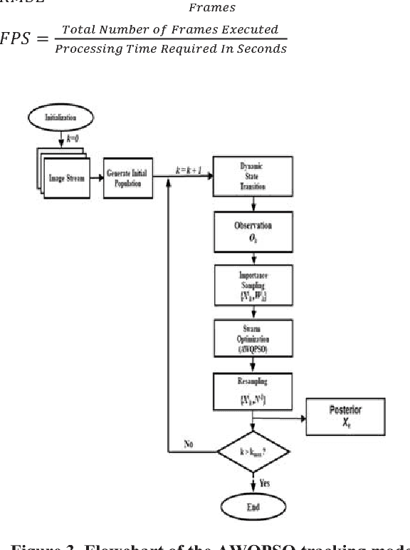
Abstract:This paper proposes an evolutionary Particle Filter with a memory guided proposal step size update and an improved, fully-connected Quantum-behaved Particle Swarm Optimization (QPSO) resampling scheme for visual tracking applications. The proposal update step uses importance weights proportional to velocities encountered in recent memory to limit the swarm movement within probable regions of interest. The QPSO resampling scheme uses a fitness weighted mean best update to bias the swarm towards the fittest section of particles while also employing a simulated annealing operator to avoid subpar fine tune during latter course of iterations. By moving particles closer to high likelihood landscapes of the posterior distribution using such constructs, the sample impoverishment problem that plagues the Particle Filter is mitigated to a great extent. Experimental results using benchmark sequences imply that the proposed method outperforms competitive candidate trackers such as the Particle Filter and the traditional Particle Swarm Optimization based Particle Filter on a suite of tracker performance indices.




Abstract:Particle Swarm Optimization (PSO) is a metaheuristic global optimization paradigm that has gained prominence in the last two decades due to its ease of application in unsupervised, complex multidimensional problems which cannot be solved using traditional deterministic algorithms. The canonical particle swarm optimizer is based on the flocking behavior and social co-operation of birds and fish schools and draws heavily from the evolutionary behavior of these organisms. This paper serves to provide a thorough survey of the PSO algorithm with special emphasis on the development, deployment and improvements of its most basic as well as some of the state-of-the-art implementations. Concepts and directions on choosing the inertia weight, constriction factor, cognition and social weights and perspectives on convergence, parallelization, elitism, niching and discrete optimization as well as neighborhood topologies are outlined. Hybridization attempts with other evolutionary and swarm paradigms in selected applications are covered and an up-to-date review is put forward for the interested reader.




Abstract:Fuzzy clustering has become a widely used data mining technique and plays an important role in grouping, traversing and selectively using data for user specified applications. The deterministic Fuzzy C-Means (FCM) algorithm may result in suboptimal solutions when applied to multidimensional data in real-world, time-constrained problems. In this paper the Quantum-behaved Particle Swarm Optimization (QPSO) with a fully connected topology is coupled with the Fuzzy C-Means Clustering algorithm and is tested on a suite of datasets from the UCI Machine Learning Repository. The global search ability of the QPSO algorithm helps in avoiding stagnation in local optima while the soft clustering approach of FCM helps to partition data based on membership probabilities. Clustering performance indices such as F-Measure, Accuracy, Quantization Error, Intercluster and Intracluster distances are reported for competitive techniques such as PSO K-Means, QPSO K-Means and QPSO FCM over all datasets considered. Experimental results indicate that QPSO FCM provides comparable and in most cases superior results when compared to the others.