Abstract:This paper introduces the TAI Scan Tool, a RAG-based TAI self-assessment tool with minimalistic input. The current version of the tool supports the legal TAI assessment, with a particular emphasis on facilitating compliance with the AI Act. It involves a two-step approach with a pre-screening and an assessment phase. The assessment output of the system includes insight regarding the risk-level of the AI system according to the AI Act, while at the same time retrieving relevant articles to aid with compliance and notify on their obligations. Our qualitative evaluation using use-case scenarios yields promising results, correctly predicting risk levels while retrieving relevant articles across three distinct semantic groups. Furthermore, interpretation of results shows that the tool's reasoning relies on comparison with the setting of high-risk systems, a behaviour attributed to their deployment requiring careful consideration, and therefore frequently presented within the AI Act.




Abstract:Learning disentangled representations without supervision or inductive biases, often leads to non-interpretable or undesirable representations. On the other hand, strict supervision requires detailed knowledge of the true generative factors, which is not always possible. In this paper, we consider weak supervision by means of high-level labels that are not assumed to be explicitly related to the ground truth factors. Such labels, while being easier to acquire, can also be used as inductive biases for algorithms to learn more interpretable or alternative disentangled representations. To this end, we propose WeLa-VAE, a variational inference framework where observations and labels share the same latent variables, which involves the maximization of a modified variational lower bound and total correlation regularization. Our method is a generalization of TCVAE, adding only one extra hyperparameter. We experiment on a dataset generated by Cartesian coordinates and we show that, while a TCVAE learns a factorized Cartesian representation, given weak labels of distance and angle, WeLa-VAE is able to learn and disentangle a polar representation. This is achieved without the need of refined labels or having to adjust the number of layers, the optimization parameters, or the total correlation hyperparameter.



Abstract:When observing a phenomenon, severe cases or anomalies are often characterised by deviation from the expected data distribution. However, non-deviating data samples may also implicitly lead to severe outcomes. In the case of unsupervised severe weather detection, these data samples can lead to mispredictions, since the predictors of severe weather are often not directly observed as features. We posit that incorporating external or auxiliary information, such as the outcome of an external task or an observation, can improve the decision boundaries of an unsupervised detection algorithm. In this paper, we increase the effectiveness of a clustering method to detect cases of severe weather by learning augmented and linearly separable latent representations.We evaluate our solution against three individual cases of severe weather, namely windstorms, floods and tornado outbreaks.




Abstract:Acquiring ground truth labels for unlabelled data can be a costly procedure, since it often requires manual labour that is error-prone. Consequently, the available amount of labelled data is increasingly reduced due to the limitations of manual data labelling. It is possible to increase the amount of labelled data samples by performing automated labelling or crowd-sourcing the annotation procedure. However, they often introduce noise or uncertainty in the labelset, that leads to decreased performance of supervised deep learning methods. On the other hand, weak supervision methods remain robust during noisy labelsets or can be effective even with low amounts of labelled data. In this paper we evaluate the effectiveness of a representation learning method that uses external categorical evidence called "Evidence Transfer", against low amount of corresponding evidence termed as incomplete evidence. Evidence transfer is a robust solution against external unknown categorical evidence that can introduce noise or uncertainty. In our experimental evaluation, evidence transfer proves to be effective and robust against different levels of incompleteness, for two types of incomplete evidence.




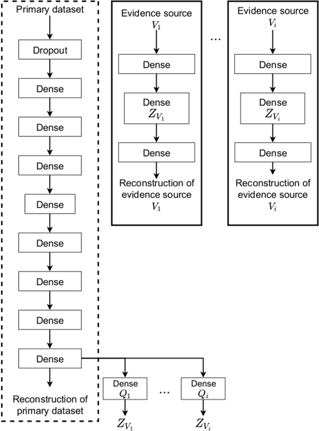
Abstract:In this paper we introduce evidence transfer for clustering, a deep learning method that can incrementally manipulate the latent representations of an autoencoder, according to external categorical evidence, in order to improve a clustering outcome. It is deployed on a baseline solution to reduce the cross entropy between the external evidence and an extension of the latent space. By evidence transfer we define the process by which the categorical outcome of an external, auxiliary task is exploited to improve a primary task, in this case representation learning for clustering. Our proposed method makes no assumptions regarding the categorical evidence presented, nor the structure of the latent space. We compare our method, against the baseline solution by performing k-means clustering before and after its deployment. Experiments with three different kinds of evidence show that our method effectively manipulates the latent representations when introduced with real corresponding evidence, while remaining robust when presented with low quality evidence.




Abstract:Deep learning models, while effective and versatile, are becoming increasingly complex, often including multiple overlapping networks of arbitrary depths, multiple objectives and non-intuitive training methodologies. This makes it increasingly difficult for researchers and practitioners to design, train and understand them. In this paper we present ANNETT-O, a much-needed, generic and computer-actionable vocabulary for researchers and practitioners to describe their deep learning configurations, training procedures and experiments. The proposed ontology focuses on topological, training and evaluation aspects of complex deep neural configurations, while keeping peripheral entities more succinct. Knowledge bases implementing ANNETT-O can support a wide variety of queries, providing relevant insights to users. In addition to a detailed description of the ontology, we demonstrate its suitability to the task via a number of hypothetical use-cases of increasing complexity.