



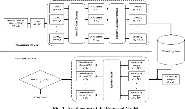
Abstract:In this paper, a novel feature selection approach for supervised interval valued features is proposed. The proposed approach takes care of selecting the class specific features through interval K-Means clustering. The kernel of K-Means clustering algorithm is modified to adapt interval valued data. During training, a set of samples corresponding to a class is fed into the interval K-Means clustering algorithm, which clusters features into K distinct clusters. Hence, there are K number of features corresponding to each class. Subsequently, corresponding to each class, the cluster representatives are chosen. This procedure is repeated for all the samples of remaining classes. During testing the feature indices correspond to each class are used for validating the given dataset through classification using suitable symbolic classifiers. For experimentation, four standard supervised interval datasets are used. The results show the superiority of the proposed model when compared with the other existing state-of-the-art feature selection methods.




Abstract:In this paper, a model for classification of logos based on symbolic representation of features is presented. The proposed model makes use of global features of logo images such as color, texture, and shape features for classification. The logo images are broadly classified into three different classes, viz., logo image containing only text, an image with only symbol, and an image with both text and a symbol. In each class, the similar looking logo images are clustered using K-means clustering algorithm. The intra-cluster variations present in each cluster corresponding to each class are then preserved using symbolic interval data. Thus referenced logo images are represented in the form of interval data. A sample logo image is then classified using suitable symbolic classifier. For experimentation purpose, relatively large amount of color logo images is created consisting of 5044 logo images. The classification results are validated with the help of accuracy, precision, recall, F-measure, and time. To check the efficacy of the proposed model, the comparative analyses are given against the other models. The results show that the proposed model outperforms the other models with respect to time and F-measure.




Abstract:In this paper, a logo classification system based on the appearance of logo images is proposed. The proposed classification system makes use of global characteristics of logo images for classification. Color, texture, and shape of a logo wholly describe the global characteristics of logo images. The various combinations of these characteristics are used for classification. The combination contains only with single feature or with fusion of two features or fusion of all three features considered at a time respectively. Further, the system categorizes the logo image into: a logo image with fully text or with fully symbols or containing both symbols and texts.. The K-Nearest Neighbour (K-NN) classifier is used for classification. Due to the lack of color logo image dataset in the literature, the same is created consisting 5044 color logo images. Finally, the performance of the classification system is evaluated through accuracy, precision, recall and F-measure computed from the confusion matrix. The experimental results show that the most promising results are obtained for fusion of features.