Abstract:Causal reasoning is fundamental for Large Language Models (LLMs) to understand genuine cause-and-effect relationships beyond pattern matching. Existing benchmarks suffer from critical limitations such as reliance on synthetic data and narrow domain coverage. We introduce a novel benchmark constructed from casually identified relationships extracted from top-tier economics and finance journals, drawing on rigorous methodologies including instrumental variables, difference-in-differences, and regression discontinuity designs. Our benchmark comprises 40,379 evaluation items covering five task types across domains such as health, environment, technology, law, and culture. Experimental results on eight state-of-the-art LLMs reveal substantial limitations, with the best model achieving only 57.6\% accuracy. Moreover, model scale does not consistently translate to superior performance, and even advanced reasoning models struggle with fundamental causal relationship identification. These findings underscore a critical gap between current LLM capabilities and demands of reliable causal reasoning in high-stakes applications.
Abstract:Socio-economic indicators like regional GDP, population, and education levels, are crucial to shaping policy decisions and fostering sustainable development. This research introduces GeoReg a regression model that integrates diverse data sources, including satellite imagery and web-based geospatial information, to estimate these indicators even for data-scarce regions such as developing countries. Our approach leverages the prior knowledge of large language model (LLM) to address the scarcity of labeled data, with the LLM functioning as a data engineer by extracting informative features to enable effective estimation in few-shot settings. Specifically, our model obtains contextual relationships between data features and the target indicator, categorizing their correlations as positive, negative, mixed, or irrelevant. These features are then fed into the linear estimator with tailored weight constraints for each category. To capture nonlinear patterns, the model also identifies meaningful feature interactions and integrates them, along with nonlinear transformations. Experiments across three countries at different stages of development demonstrate that our model outperforms baselines in estimating socio-economic indicators, even for low-income countries with limited data availability.

Abstract:The analysis of system calls is one method employed by anomaly detection systems to recognise malicious code execution. Similarities can be drawn between this process and the behaviour of certain cells belonging to the human immune system, and can be applied to construct an artificial immune system. A recently developed hypothesis in immunology, the Danger Theory, states that our immune system responds to the presence of intruders through sensing molecules belonging to those invaders, plus signals generated by the host indicating danger and damage. We propose the incorporation of this concept into a responsive intrusion detection system, where behavioural information of the system and running processes is combined with information regarding individual system calls.




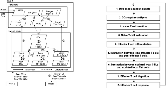
Abstract:The role of T-cells within the immune system is to confirm and assess anomalous situations and then either respond to or tolerate the source of the effect. To illustrate how these mechanisms can be harnessed to solve real-world problems, we present the blueprint of a T-cell inspired algorithm for computer security worm detection. We show how the three central T-cell processes, namely T-cell maturation, differentiation and proliferation, naturally map into this domain and further illustrate how such an algorithm fits into a complete immune inspired computer security system and framework.

Abstract:The use of artificial immune systems in intrusion detection is an appealing concept for two reasons. Firstly, the human immune system provides the human body with a high level of protection from invading pathogens, in a robust, self-organised and distributed manner. Secondly, current techniques used in computer security are not able to cope with the dynamic and increasingly complex nature of computer systems and their security. It is hoped that biologically inspired approaches in this area, including the use of immune-based systems will be able to meet this challenge. Here we review the algorithms used, the development of the systems and the outcome of their implementation. We provide an introduction and analysis of the key developments within this field, in addition to making suggestions for future research.