



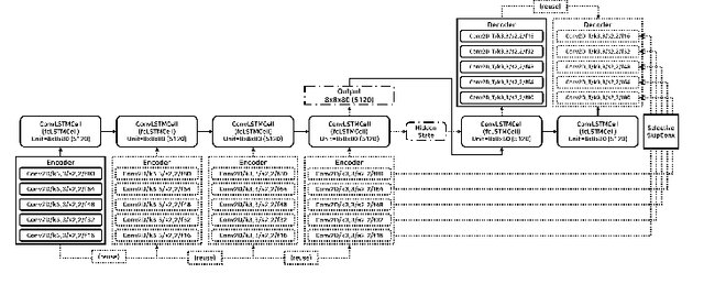
Predicting unseen weather phenomena is an important issue for disaster management. In this paper, we suggest a model for a convolutional sequence-to-sequence autoencoder for predicting undiscovered weather situations from previous satellite images. We also propose a symmetric skip connection between encoder and decoder modules to produce more comprehensive image predictions. To examine our model performance, we conducted experiments for each suggested model to predict future satellite images from historical satellite images. A specific combination of skip connection and sequence-to-sequence autoencoder was able to generate closest prediction from the ground truth image.