



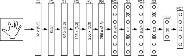
DeepPrior is a simple approach based on Deep Learning that predicts the joint 3D locations of a hand given a depth map. Since its publication early 2015, it has been outperformed by several impressive works. Here we show that with simple improvements: adding ResNet layers, data augmentation, and better initial hand localization, we achieve better or similar performance than more sophisticated recent methods on the three main benchmarks (NYU, ICVL, MSRA) while keeping the simplicity of the original method. Our new implementation is available at https://github.com/moberweger/deep-prior-pp .