Abstract:In this paper, we propose iterative interference cancellation schemes with access points selection (APs-Sel) for cell-free massive multiple-input multiple-output (CF-mMIMO) systems. Closed-form expressions for centralized and decentralized linear minimum mean square error (LMMSE) receive filters with APs-Sel are derived assuming imperfect channel state information (CSI). Furthermore, we develop a list-based detector based on LMMSE receive filters that exploits interference cancellation and the constellation points. A message-passing-based iterative detection and decoding (IDD) scheme that employs low-density parity-check (LDPC) codes is then developed. Moreover, log-likelihood ratio (LLR) refinement strategies based on censoring and a linear combination of local LLRs are proposed to improve the network performance. We compare the cases with centralized and decentralized processing in terms of bit error rate (BER) performance, complexity, and signaling under perfect CSI (PCSI) and imperfect CSI (ICSI) and verify the superiority of the distributed architecture with LLR refinements.



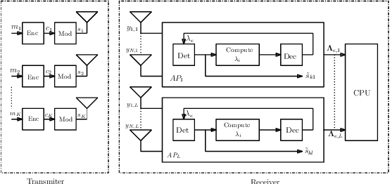
Abstract:In this paper, we propose low-complexity local detectors and log-likelihood ratio (LLR) refinement techniques for a coded cell-free massive multiple input multiple output (CF- mMIMO) systems, where an iterative detection and decoding (IDD) scheme is applied using parallel interference cancellation (PIC) and access point (AP) selection. In particular, we propose three LLR processing schemes based on the individual processing of the LLRs of each AP, LLR censoring, and a linear combination of LLRs by assuming statistical independence. We derive new closed-form expressions for the local soft minimum mean square error (MMSE)-PIC detector and receive matched filter (RMF). We also examine the system performance as the number of iterations increases. Simulations assess the performance of the proposed techniques against existing approaches.




Abstract:In this work, we investigate dynamic oversampling techniques for large-scale multiple-antenna systems equipped with low-cost and low-power 1-bit analog-to-digital converters at the base stations. To compensate for the performance loss caused by the coarse quantization, oversampling is applied at the receiver. Unlike existing works that use uniform oversampling, which samples the signal at a constant rate, a novel dynamic oversampling scheme is proposed. The basic idea is to perform time-varying nonuniform oversampling, which selects samples with nonuniform patterns that vary over time. We consider two system design criteria: a design that maximizes the achievable sum rate and another design that minimizes the mean square error of detected symbols. Dynamic oversampling is carried out using a dimension reduction matrix $\mathbf{\Delta}$, which can be computed by the generalized eigenvalue decomposition or by novel submatrix-level feature selection algorithms. Moreover, the proposed scheme is analyzed in terms of convergence, computational complexity and power consumption at the receiver. Simulations show that systems with the proposed dynamic oversampling outperform those with uniform oversampling in terms of computational cost, achievable sum rate and symbol error rate performance.